12 月 10 日,NMPA 官网显示,海思科环泊酚注射液新适应症获批上市。这是环泊酚获批的第 3 项适应症。


来自:CDE
HSK3486(即环泊酚,商品名为思舒宁)是由海思科自主研发、具有完全自主知识产权的 1.1 类创新药,同时也是我国首个自主化合物创新的静脉麻醉药。该药是经典麻醉镇静药丙泊酚的改良型新药,其效能显著高于丙泊酚,且安全性好于丙泊酚。
2020 年 12 月 14 日,环泊酚首次获批上市,用于消化道内镜诊断和治疗镇静和/或麻醉;2021 年 2 月获批一项新适应症,用于全身麻醉诱导。目前,环泊酚一共申报了 5 项适应症。
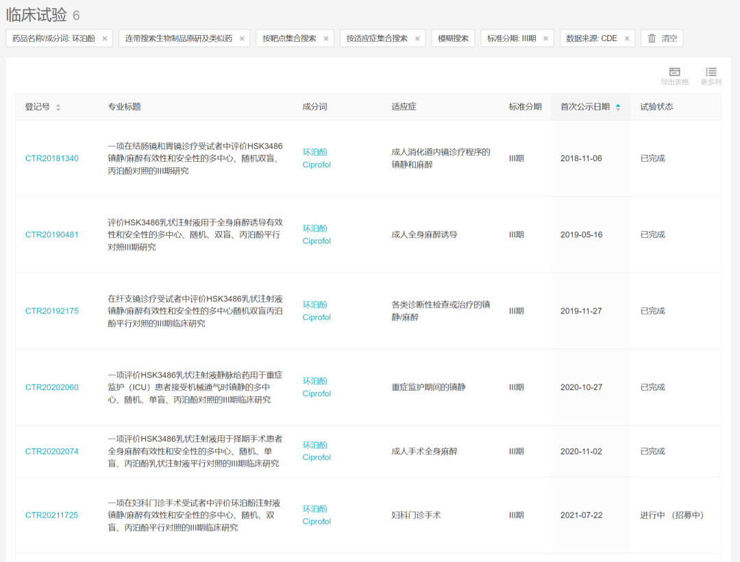
根据 Insight 数据库,海思科目前针对环泊酚启动了 6 项 3 期临床,其中 5 项已完成,大概率对应其申报的 5 项适应症。本次获批的适应症应为后 3 项之一:纤支镜诊疗镇静/麻醉、重症监护(ICU)期间镇静、成人手术全身麻醉。此外妇科门诊手术镇静/麻醉的 III 期临床也在进行中。
环泊酚登记的 III 期临床

来自:Insight 数据库(http://db.dxy.cn/v5/home/)
HSK3486 的对标产品——丙泊酚,是静脉麻醉镇静领域的王牌产品。该药自 1989 年被 FDA 批准上市以来就牢牢占据注射用麻醉静药领域的统治地位,这主要得益于其出色的药物代谢动力学性质和良好的安全性。相对同领域竞品,丙泊酚起效快、苏醒时间短,苏醒后几乎无恶心呕吐等副作用,据 IQVIA 数据 2017 年全球丙泊酚的基础消耗量超过 3 亿支(按 200 mg 规格计算),是应用最为广泛的静脉麻醉镇静药。
不过,丙泊酚目前已经有 10 家企业获批,被纳入第四批集采当中,科伦、盈科、扬子江、费森尤斯卡比 4 家企业降 77% - 85% 中标。
免责声明:本文仅作信息分享,不代表 Insight 立场和观点,也不作治疗方案推荐和介绍。如有需求,请咨询和联系正规医疗机构。
编辑:加一
PR 稿对接:微信 insightxb
投稿:微信 insightxb;邮箱 insight@dxy.cn
点击卡片进入 Insight 小程序
药品申报、临床、上市、一致性评价…
随时随地查!
↓↓ 点击解锁更多新功能

个人中心
我是园区