10 月 7 日,Mirati 宣布与赛诺菲达成非独家临床合作协议,以评估 KRAS G12C 抑制剂 Adagrasib 与赛诺菲 SHP2 抑制剂 SAR442720(RMC-4630)联用治疗 NSCLC 的疗效。双方将在一项 1/2 期剂量递增和扩展研究中对先前经治的 KRAS G12C 突变 NSCLC 患者中评估该组合。

「Mirati 正在积极推进一项广泛的 adagrasib 开发计划,其中包括通过与赛诺菲的合作寻求新的组合疗法,」 Mirati Therapeutics 总裁、创始人兼研发主管 Charles M. Baum 博士说,「将 SHP2 抑制剂与 adagrasib 联合使用有很强的科学依据,可能有助于优化 KRAS G12C 突变肿瘤患者的临床结果。」
SHP2 位于 KRAS 的上游,通过 RAS/MAP 激酶途径介导细胞信号传导,并且在各种类型的癌症中过度活跃。KRAS G12C 抑制和 SHP2 抑制具有互补的作用机制,并在临床前模型中显示出相加的抗肿瘤活性。
根据协议条款,赛诺菲将负责赞助和运营 1/2 期研究,并与 Mirati 共同监督和分担研究费用。
当前,国外 KRAS 抑制剂的竞争主要集中在两位重磅选手身上,即安进的 Sotorasib(AMG510,Lumakras)和 Mirati 的 Adagrasib。两者均在广泛探索单药和联合疗法治疗包括非小细胞肺癌(NSCLC)、结直肠癌(CRC)在内的多个癌种。
同样在 10 月 7 日,安进公布了 Sotorasib 在 1b 期临床 CodeBreaK101 研究中的两个联合用药队列数据。这两项数据在 AACR-NCI-EORTC 2021 会议上发布,分别评估 Sotorasib 联合泛 ErbB 酪氨酸激酶抑制剂阿法替尼和 MET 抑制剂曲美替尼的疗效。

在阿法替尼联合用药队列(LBA6581),共招募 33 名既往经过多线治疗的 KRAS G12C 突变 NSCLC 患者,其中 5 例先前接受过 Sotorasib 单药治疗。10 例患者接受 20mg 阿法替尼 + 960mg Sotorasib(队列1),23 例患者接受 30mg 阿法替尼 + 960mg Sotorasib(队列2)。结果显示,队列 1 的客观缓解率(ORR)为 20%,队列 2 为 35%,两个队列的疾病控制率分别为 70% 和 74%。30% 的患者出现 3 级 TRAE,其中腹泻最为常见。
在曲美替尼联合用药组(LBA6580),共 41 例患者参与研究,包括 18 例 NSCLC、18 例 CRC 以及 5 例其他实体瘤患者,最大耐受剂量为 2mg 曲美替尼 + 960mg Sotorasib 每日给药。
结果显示,在既往未接受过 KRAS G12C 抑制剂治疗的 CRC 患者中,9% 实现 PR(1/11),疾病控制率(DCR)为 82%(9/11)。在先前经过 KRAS G12C 抑制剂治疗的患者中,14% 实现 PR(1/7),疾病控制率(DCR)为 86%(6/7)。
对于非小细胞肺癌,在既往未接受过 KRAS G12C 抑制剂治疗的患者中 20% 实现 PR(3/15),87% 实现疾病控制(13/15)。在先前经过 KRAS G12C 抑制剂治疗的患者中,67% 实现了疾病控制(2/3)。
不久前的 ESMO 大会上,两款 KRAS G12C 抑制剂还在结直肠癌领域产生了另一次 PK,均公布了联合 EGFR 抑制剂治疗结直肠癌的临床数据,取得可喜的结果。
Adagrasib 和 Sotorasib(Lumakras)的 CRC 临床数据

来自:Evaluate Pharma
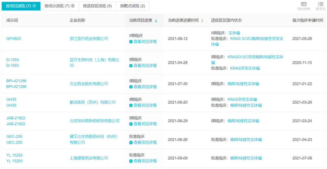
据 Insight 数据库,国内的 KRAS 抑制剂研发还处于较早期,不过非常活跃。国产药共 7 款处于临床阶段,其中以劲方医药进展最快,9 月 2 日信达以总额 3.12 亿美元与劲方达成合作,引进了这款药物。随着研发的继续推进,也期待未来来自中国的创新药闪耀世界舞台。
国产在研的临床阶段 KRAS 抑制剂

来自:Insight 数据库(http://db.dxy.cn/v5/home/)
编辑:加一
PR 稿对接:微信 insightxb
投稿:微信 insightxb;邮箱 insight@dxy.cn
点击卡片进入 Insight 小程序
药品申报、临床、上市、一致性评价…
随时随地查!
↓↓ 点击解锁更多新功能

个人中心
我是园区