
8月18日,国家药监局官网显示有6款仿制药通过一致性评价,包括南京正大天晴的瑞舒伐他汀钙片、仙河药业的蒙脱石散(第15家)、长澳制药的羟苯磺酸钙片(首家)、卫材(辽宁)制药的洛索洛芬钠片(第2家)和石药集团的克拉霉素片(第5家)以及格列美脲分散片(首家)。其中,克拉霉素片属于第三批集采品种。

以下选取部分品种作一简单介绍:
瑞舒伐他汀钙片
瑞舒伐他汀钙片是一种高血脂治疗药物,南京正大天晴的10mg规格早在2017年12月便通过一致性评价,推测此次过评规格应为5mg。瑞舒伐他汀钙片属于联盟地区带量采购品种,中选厂家有京新、翰晖制药和南京正大天晴。其中,京新、翰晖制药中选规格为10和5mg规格,南京正大天晴为5mg规格。
目前,瑞舒伐他汀钙通过一致性评价厂家已达到11家,包括10家片剂以及1家胶囊剂。

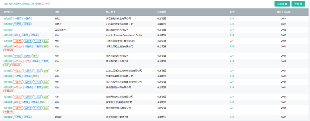
格列美脲分散片
格列美脲是一款中长效磺酰脲类抗糖尿病药,它能够刺激胰岛β细胞分泌胰岛素,进而降低2型糖尿病患者血糖水平。原研厂家赛诺菲,最初于1995年在荷兰获批。
国内开发的格列美脲剂型有片剂、口崩片、胶囊剂、分散片和滴丸,其中,片剂已被纳入第二批国家集采,目前国内过评厂家达到9家。数据显示,列美脲片2017年国内销售额约为人民币9.7亿元。

石药集团为首家通过格列美脲分散片一致性评价的厂家。石药2020Q1财报显示其格列美脲分散片及盐酸二甲双胍片╱缓释片第一季度销售收入为0.88亿元,同比增长56.3%。
克拉霉素片
克拉霉素片适用于克拉霉素敏感菌所引起的感染:鼻炎感染、下呼吸道感染等,也用于军团菌感染或与其他药物联合用于鸟分支杆菌感染、幽门螺旋杆菌感染的治疗。数据显示,克拉霉素2019年在全国城市样本公立医院的销售额为8.19亿元。
国内目前有4家企业通过克拉霉素一致性评价,其中,东阳光的片剂和缓释片都已通过一致性评价。石药集团此次提提交了克拉霉素片2个受理号的一致性评价申请(CYHB1950533和CYHB1950534),但只有受理号CYHB1950534通过一致性评价。

克拉霉素片为第三批集采品种,石药集团此次通过一致性评价后,将和上述4家企业以及原研药企雅培共同竞争。按照规则,符合申报资格的厂家达到6家的品种,最多入围企业数将为4家。
在本周即将进行的第三批国家集采中,石药集团有多个品种入选,包括布洛芬颗粒、盐酸二甲双胍缓释片/片、卡托普利片、盐酸美金刚片、孟鲁司特钠咀嚼片、塞来昔布胶囊、替格瑞洛片和克拉霉素片。石药集团最终竞标结果如何,我们拭目以待!

点亮“在看”,好文相伴

个人中心
我是园区