据 Insight 数据库统计,本周(4 月 23 日—4 月 29 日)全球共有 50 款创新药(含改良新)研发进度推进到了新阶段,其中 2 款获批上市,5 款申报上市,11 款获批临床,16 款申报临床。
下文中,Insight 将分别摘取国内外部分重点项目做介绍。
国内创新药进展
国内部分,本周共有 59 款创新药(含改良新)研发进度推进到了新阶段,其中 5 款申报上市,10 款获批临床,23 款申报临床。
本周国内首次启动临床的 12 款创新药(含改良新)
来自:Insight 数据库网页版(http://db.dxy.cn/v5/home/)(下同)
申报上市
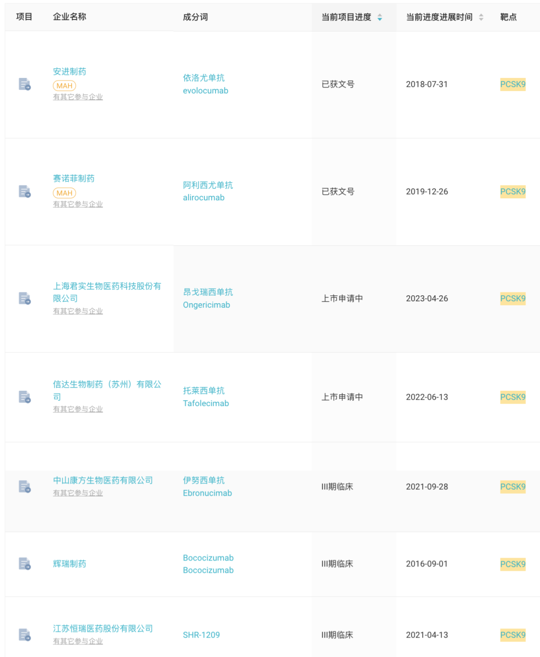
1、君实生物:PCSK9 单抗两项适应症申报上市
4 月 26 日,据 CDE 官网显示,君实生物在研重组人源化抗 PCSK9 单克隆抗体注射液(JS002/昂戈瑞西单抗)申报上市(受理号:CXSS2300025)。
据君实新闻稿,此次报上市有两项适应症,分别为:1)原发性高胆固醇血症(包括杂合子型家族性和非家族性)和混合型血脂异常。2)用于成人或 12 岁以上青少年的纯合子型家族性高胆固醇血症。
本次新药上市申请主要基于 JS002-003、JS002-004、JS002-006 三项注册临床试验。
JS002-003 和 JS002-006 是在原发性高胆固醇血症(包括杂合子型家族性和非家族性)和混合型高脂血症患者中完成的两项随机、双盲、安慰剂对照的 III 期临床研究。今年 2 月 27 日,君实宣布这两项 III 期临床研究均达到主要终点。
JS002-004 则是在纯合子型家族性高胆固醇血症(HoFH)患者中完成的一项单臂、开放标签的 II 期临床研究(登记号:NCT04515927/CTR20200378)。
NCT04515927 试验信息
此外,针对杂合子型家族性高胆固醇血症患者的 III 期临床研究(登记号:NCT05325203/CTR20212751)目前也已完成入组工作。
据 Insight 数据库显示,目前国内仅有两款进口药依洛尤单抗(安进)和阿利西尤单抗(赛诺菲)获批上市,并无国产药获批。
对于国产而言,也有多家企业布局,除君实外,信达生物的托莱西单抗也处于申报上市阶段,去年 6 月申报,为国内首款申报上市的国产 PCSK9 单抗。此外,恒瑞医药、康方生物等同类产品也都已进入 III 期临床阶段。
国内 PCSK9 单抗研发格局(III 期及以上临床阶段)
2、恒瑞:1 类新药「夫那奇珠单抗」申报上市
4 月 27 日,CDE 官网显示,恒瑞医药的 1 类新药「夫那奇珠单抗」申报上市获 CDE 受理。夫那奇珠单抗(Vunakizumab)即 SHR-1314,据 Insight 数据库显示,此前其斑块状银屑病适应症已进展至临床 III 期,强直性脊柱炎适应症也启动了 II/III 期临床。
SHR-1314 是一款靶向人 IL-17A 的重组人源化单克隆抗体,该药最早于 2016 年 6 月该药首次获批临床,在 2021 年 4 月启动 III 期临床。
项目时光轴
2022 年 1 月,恒瑞公布了 SHR-1314 的 II 期研究数据(登记号:NCT03463187)。这是一项为期 36 周的双盲多中心试验,187 例符合条件的中重度斑块状银屑病以 1:1:1:1 随机接受每 4 周一次 SHR-1314(40、80、160 或 240 mg)或安慰剂皮下注射,主要终点为 12 周时银屑病面基和严重指数至少改善 75% 的患者比例(PASI75)。
结果显示,接受 SHR-1314 所有剂量的患者都优于安慰剂组,实现 75% 改善的比例分别为 56.8%、65.8%、81.6% 和 86.5%,而安慰剂组为 5.4%。
临床试验结果
目前全球已有 3 个 IL-17A 抗体获批上市。诺华公司的司库奇尤单抗(商品名 Cosentyx)于 2015 年在美国和欧洲获批上市,2022 年其销售额为 47.88 亿美元;礼来公司的依奇珠单抗(商品名 Taltz)于 2016 年在美国和欧洲获批上市,2022 年其销售额为 24.82 亿美元。两款药物分别于 2019 年 4 月和 9 月作为第一批临床急需境外新药在中国获批上市。
临床 III 期
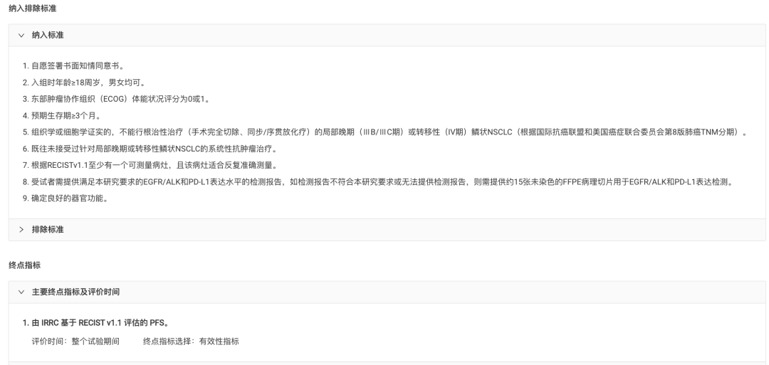
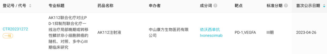
1、康方生物:启动 AK112 一线鳞状 NSCLC III 期临床,头对头替雷利珠单抗
4 月 26 日,据 Insight 数据库显示,康方生物启动了一项其在研 PD1/VEGF 双抗 AK112 联合化疗对比 PD-1 抑制剂联合化疗一线治疗局部晚期或转移性鳞状非小细胞肺癌的 III 期临床研究(登记号:CTR20231272)。
这是一项随机、双盲、对照、多中心的 III 期临床,旨在评估 AK112 联合化疗(卡铂 + 紫杉醇)与替雷利珠单抗联合化疗在局部晚期或转移性鳞状非小细胞肺癌患者中的有效性和安全性。主要终点指标是独立影像评估委员会(IRRC)基于实体瘤疗效评价标准 1.1 版(RECIST v1.1)评估的无进展生存期(PFS)。
CTR20231272 试验信息
启动临床
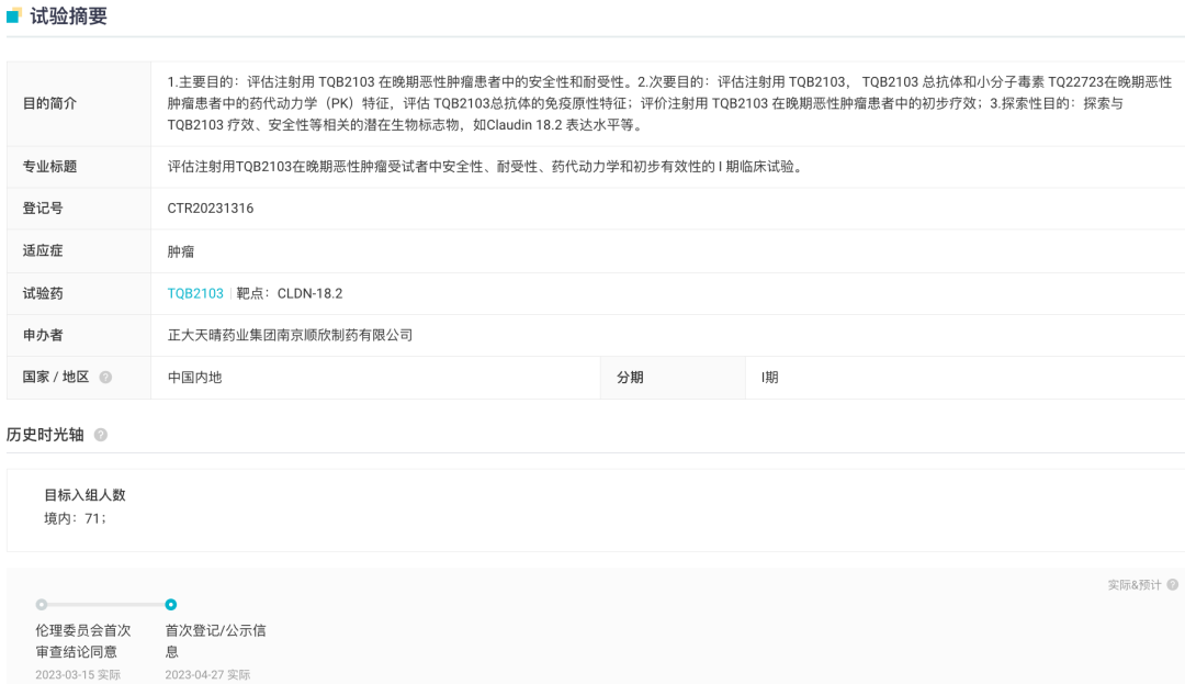
1、正大天晴:Claudin 18.2 ADC 首次启动临床
4 月 27 日,据 Insight 数据库显示,正大天晴 Claudin 18.2 ADC TQB2103 首次启动临床(登记号:CTR20231316)。
CTR20231316 试验摘要
TQB2103 是中国生物制药有限公司自主研发的一种靶向 Claudin18.2 ADC,适应症为晚期恶性肿瘤。TQB2103 抗体部分与 Claudin18.2 阳性肿瘤细胞表面抗原结合,ADC 复合物经细胞内吞并转移至溶酶体,连接子经酶切后释放小分子毒素,导致 DNA(脱氧核糖核酸)损伤和阳性肿瘤细胞死亡,且能够通过旁观者效应杀死相邻阴性肿瘤细胞。
TQB2103 抗体端采用具有自主知识财产权的 Claudin18.2 单抗,与目前临床进展最快的 Claudin18.2 单抗相比具有更强的靶细胞结合和内吞活性,且结合特异性更优;通过高 DAR(药物╱抗体比率)值、低毒性的毒素分子设计,有望在增强 TQB2103 药效的同时降低毒性,扩大治疗窗口。
非临床研究结果显示,TQB2103 可显著抑制 Claudin18.2 阳性的人胃癌、胰腺癌细胞在裸鼠上的生长;在食蟹猴毒理实验中毒性可控,具有较大的治疗安全窗口。
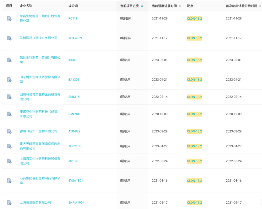
据 Insight 数据库,当前国内共有 11 个靶向 Claudin 18.2 ADC 在研,布局企业包括荣昌、恒瑞、君实、石药、科伦等。其中,荣昌生物的 RC118 以及礼新医药的 TPX-4589,正在开展 I/II 期临床试验,其余处于 I 期临床阶段。
国内 Claudin 18.2 ADC 布局
获批临床
1、华东医药:近 1.9 亿美元引进双抗,国内获批临床
4 月 28 日,华东医药发布公告称其在研 1 类新药 HDM3002(PRV-3279)Ⅱa 临床试验申请获得批准,拟开发用于治疗系统性红斑狼疮。
HDM3002(PRV-3279)是一种靶向 B 细胞表面蛋白 CD32B 和 CD79B 的人源化双抗,具有治疗 B 细胞介导的自身免疫性疾病和预防或降低生物治疗的免疫原性的潜力。
华东医药全资子公司中美华东于 2021 年 2 月,获得 Provention Bio 公司 HDM3002(PRV-3279)治疗系统性红斑狼疮、预防或降低基因治疗的免疫原性这两个临床适应症在大中华区的独家临床开发及商业化权益。
HDM3002 临床表现良好,在已完成的单剂量递增 I 期试验和多剂量递增 Ib 期试验(PREVAIL-1 研究)中表现出良好的耐受性,在最后一次给药后 8 周,免疫球蛋白 M(IgM)水平仍低于正常水平,证明了 HDM3002 对 B 细胞功能的持久抑制作用。此外,CD32B 基因变异被观察到与 SLE 相关,HDM3002 抑制从 SLE 患者分离出来的 B 细胞,这些结果都支持该产品在 SLE 的临床开发。
目前,华东医药正在积极推进 HDM3002 的临床进展。此次获 NMPA 批准开展的 HDM3002 对狼疮疗效的 Ⅱa 期临床试验(PREVAIL-2),合作方美国 Provention Bio 正在美国和中国香港开展研究。
PREVAIL-2 研究(登记号:NCT05087628)是一项 IIa 期概念验证(POC)研究,研究对象是中重度系统性红斑狼疮(SLE)患者,通过短期的糖皮质激素诱导 SLE 症状改善,随机分配到 PRV-3279 或安慰剂组治疗,监测 SLE 复发情况,评估 24 周疾病维持改善的患者比例。
NCT05087628 试验信息
目前,针对 SLE 适应症的生物制剂获批较少,存在巨大的治疗缺口。数据显示,目前仅有 3 款生物制剂获得 FDA 或 NMPA 批准用于中重度 SLE 患者的治疗,SLE 适应症市场竞争格局良好。
境外创新药进展
境外部分,本周共有 8 款创新药(含改良新)研发进度推进到了新阶段,其中 2 款获批上市,1 款申报上市,5 款获批临床。
获批上市
1、渤健/Ionis:渐冻症疗法获 FDA 加速批准
4 月 25 日,据 FDA 官网,渤健/Ionis 反义寡核苷酸(ASO)疗法 Tofersen(Qalsody)获 FDA 加速批准上市,用于治疗具有超氧化物歧化酶 1 突变的肌萎缩侧索硬化(SOD1-ALS)。
Tofersen(BIIB067)是一款由 Biogen 和 Ionis 共同开发的靶向治疗成人 SOD1 基因突变型 ALS(SOD1-ALS)的反义寡核苷酸药物。
Tofersen 能降解 SOD1 mRNA,以减少 SOD1 蛋白质的合成,防止有毒 SOD1 蛋白进一步积累,并允许自然清除机制去除现有的有毒 SOD1 蛋白质。通过减少有毒 SOD1 蛋白质的数量,Tofersen 可以保护运动神经元完整性。
此前披露的一项为期 6 个月的 Tofersen 用于成人 SOD1-ALS 患者的安全性和有效性的 III 期临床 VALOR 试验结果显示,与安慰剂组相比,虽然 Tofersen 在 28 周内降低了脑脊液中的 SOD1 浓度和血浆中的 NfL 浓度,但在主要终点 ALSFRS-R 评分上并未产生显著性差别。基于该研究结果,对于该药能否顺利获批,彼时业内存在着一些争议。
VALOR 试验结果
不过,在华盛顿时间 22 日 FDA 组织召开的咨询委员会会议上,专家组以 9:0 的投票结果,支持基于生物标志物变化,加速批准 Tofersen 治疗 SOD1-ALS 患者。
申报上市
1、礼来:「替尔泊肽」欧洲率先递交肥胖症上市申请
4 月 27 日,礼来宣布 GLP-1R/GIPR 双重激动剂替尔泊肽(Tirzepatide,商品名 Mounjaro)针对肥胖症的 III 期临床 SURMOUNT-02 达到所有主要和次要终点,15 mg 高剂量替尔泊肽在 72 周实现 15.7% 的减重效果,即在基线 100.7 kg 的体重下减重 15.6 kg。
当前,替尔泊肽用于超重/肥胖的适应症已经在欧洲递交上市申请,礼来预计接下来的几周内将完成美国地区新适应症上市申请的滚动递交。
此次申报上市正是基于 SURMOUNT-2 研究以及此前公布的 SURMOUNT-1 研究结果。
SURMOUNT-2 研究是一项多中心、随机、双盲、安慰剂对照的 III 期临床试验。该研究共纳入 938 例受试者,平均基线体重为 100.7 kg,基线 A1C 为 8.0%。共同主要终点为 Tirzepatide 10 mg 和 15 mg 剂量组在第 72 周时降低体重的百分比效果以及减重 5% 以上的患者比例。
结果显示,与安慰剂相比,10 mg 和 15 mg Tirzepatide 在治疗 72 周时取得了显著的减肥效果。
与安慰剂(3.3%、3.2 kg)相比,10 mg 组患者体重平均减轻了 13.4%(13.5 kg),15 mg 组平均体重减轻了 15.7%(15.6 kg)。此外,10 mg、15 mg 组分别有 81.6% 和 86.4% 的患者减重 5% 以上,而安慰剂组比例为 30.5%,达到了共同主要终点。此外,还达到了所有关键次要终点,包括降低 A1C 和其他心脏代谢参数。
此前,在 2022 年 4 月,礼来公布了 Tirzepatide(替尔泊肽注射液)治疗肥胖症或超重群体的全球 Ⅲ 期临床试验 SURMOUNT-1 的关键数据。
结果显示,Tirzepatide(5 mg、10 mg、15 mg)治疗组患者第 72 周时减重效果均显著优于安慰剂对照组,同时接受最高剂量(15 mg)tirzepatide 治疗的亚组平均体重降低 22.5%(约 24 公斤),其中 63% 的受试者体重降低至少 20%。
SURMOUNT-1 临床数据
目前,礼来还在开展针对肥胖患者的 SURMOUNT-3 研究以及维持肥胖患者体重减轻的 SURMOUNT-4 研究,相应数据结果预计将于今年读出。
多说一点
本周,罗氏、阿斯利康、默沙东等 MNC 发布 2023Q1 财报。详情见 Insight 往期报道:
>>>罗氏 2023 Q1:营收 153 亿瑞士法郎,眼科双抗 4.32 亿瑞士法郎,中国区销售额增长 4%
>>>默沙东:K 药 Q1 卖了 58 亿美元,大涨 24%,继续锁定药王宝座!
>>>阿斯利康 Q1 业绩:中国区营收 16.02 亿美元,2023 预计重归增长!Enhertu 销售额大涨超 3 倍,成绩耀眼
免责声明:本文仅作信息分享,不代表 Insight 立场和观点,也不作治疗方案推荐和介绍。如有需求,请咨询和联系正规医疗机构。
编辑:Hebe
PR 稿对接:微信 insightxb
投稿:微信 insightxb;邮箱 insight@dxy.cn
点击卡片进入 Insight 小程序
国内审评进度、全球新药开发…
随时随地查!
多样化功能、可溯源数据……
Insight 数据库网页版等你体验
点击阅读原文,立刻解锁!

个人中心
我是园区