您还不是认证园区!
赶快前去认证园区吧!
如果您喜欢CROU制药在线推送的这篇文章
欢迎点赞和转发哦~
【线上】2022基于化学创新药案例的药物分析人员关键岗位技能提升专题培训班
【线上】2022跨越基层-cGMP框架下制药企业储备生产负责人能力提升研修班
【线上】2022 MAH制度下CMO/CDMO企业如何做好药品研发生产的质量保障、安全及监管合规要求高级研修班
【线上】2022制药企业质量保证实施策略解析和案例分析-暨质量QA管理人员技能专项提升高级研修班
【线上】2022符合FDA和欧盟法规要求的cGMP文件和记录系统要求及检查实践专题研修班
【线上】基于药品生命周期管理的全员确认与验证实施策略解析专题研修班
【线上】GMP管理体系的搭建改善及变更、偏差实施策略解析高级研修班
【线上】符合ICH指导原则的质量标准建立与分析方法策略实施高级研修班
↑点击以上链接即可跳转培训内容界面
前言:药品研发是一个复杂的过程,药品研发中如何对质量风险进行管理?风险管理的原则是什么?风险管理流程是什么?质量风险管理在药品研发中有哪些应用?本文仅依据自己的实际经验对对研发过程中质量风险的管理粗略表达一些自己的见解。 药品质量源于设计、源于生产。药品研发中的质量风险管理以科学知识为基础,最终目的在于保护受试者或使用者的利益。 一、质量风险管理的名词
质量风险管理(Quality Risk Management,简称“QRM”):是在整个产品生命周期中采用前瞻或回顾的方式,对质量风险进行识别、评估、控制、沟通、审核的系统过程。 风险:危害发生的可能性及其严重程度。 风险评估:在一个风险管理过程中用于支持所做的风险决策的组织信息的系统过程,其包含对危险因素的辨识,对暴露在这些危险因素相关风险的分析、评价。 风险控制:实施风险管理决策的行为。 二、质量风险管理原则 1、 质量风险的评价应基于科学知识及经验对质量风险进行评估,以保证产品质量。 2、 质量风险管理过程所采用的方法、措施、形式及形成的文件应当与存在的风险级别相适应。风险管理的形式可以分为正式风险管理项目、非正式风险管理项目。正式风险管理项目应严格执行风险管理流程进行,非正式风险管理项目可不必按风险管理流程执行。 3、 质量风险管理是一个动态、反复、变化的过程,风险管理应持续改进。 4、 制定风险管理计划要以最低的总成本为总目标,以最合理、经济的风险控制方式来处理损失。 5、 质量风险管理过程中允许一定的不确定性,只要达到要求即可。 6、 风险管理实施遵循PDCA原则。 三、 质量风险管理流程
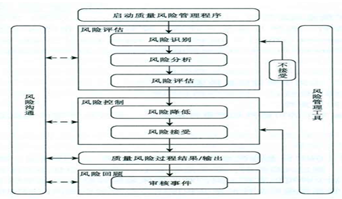
图-1 质量风险管理流程图 质量风险管理过程分为:确定事件并启动风险管理流程→风险评估→风险控制→风险过程结果或输出→风险回顾。 1、风险评估:包括风险识别、风险分析、风险评估三个部分。 1.1 风险识别 确定事件并启动质量风险管理,包括确定风险评估的问题和收集资料信息。通过资料信息来确认工艺、设备、系统、操作等过程中存在的风险,确认可能发生的危害及后果,对风险事件因素进行识别。风险因素识别时应从人、机、料、法、环等几方面开展,以查找到根本原因。 1.2 风险分析 对已确认危害的相关风险,逐一列出并分析各种失效的原因和影响。 1.2.1 分析失效的原因时应综合考虑物理原因和人为原因。 1.2.2 每个失效可能有不止一个原因。对于每种失效模式,分析所有可能导致这种失效的机制及原因。 1.2.3 失效原因的分析重点放在可能导致失效的过程、变化或条件。对于根源分析可使用过程流程图、功能图块及鱼骨图进行分析。 1.2.4 失效影响是失效对系统、过程所产生的输出结果。应分别从局部角度和全局角度进行分析,如:患者、产品、法规等角度。分析失效影响时应还应确定功能丧失的关联影响,包括系统自身、其他系统、药品的影响。 1.3 风险评估 应用风险评估的工具进行风险评价,风险评价可以确定风险的严重性,将已识别和分析的风险与预先确定的可接受标准比较。也可以应用定性和定量的过程确定风险的严重性,风险评估的结果可以表示为总体的风险值,例如:定量的表示为具体的数字,如0 到10(百分比0 到百分比100);或定性的表示为风险的范围,如高,中,低。 2、 风险控制 包括风险降低和接受风险两个部分: 2.1 风险降低 针对风险评估中确定的风险,当其质量风险超过可接受水平时,所采取的降低风险的措施。包括降低风险的严重性和可能性,或者提高发现质量风险的能力。 2.2 风险接受 确定可接受风险的最低限度,设计理想的质量风险管理策略来降低风险致可接受状态,这个可接受状态由许多参数决定并应根据具体情况分别对待。 采取降低或消除质量风险的风险控制措施时,通常从风险等级和降低风险所需的成本两个方面确定在利益、质量风险和资源之间的平衡点,找到将风险降低到可接受水平的措施。一旦风险降低至该等级,就接受该风险而不用再采取更严格的措施进一步降低风险。 3、风险管理过程输出/结果 对风险管理过程输出/结果进行审核,对评估结果与纠正措施进行审核,确认风险分析与评估正确,采取措施与风险水平相适应,并交由质量总监批准。 4、风险评审、回顾 4.1 风险评审 在实施风险降低措施过程中,有可能将新的风险引入系统,或增加了其他风险发生的可能。因此,在措施实施后须重新进行风险评估,以确认和评价风险是否发生新变化。 4.2 风险回顾 质量风险管理的决定或行动基于当时的条件,风险管理是持续性的质量管理过程,是一个动态的过程。随事件、环境及知识的改变,风险可能会发生变化,有新风险出现,也可能原有识别风险消失。 质量风险管理结果应根据新知识、新环境更新,根据风险控制项目及水平在必要时或定期对风险管理结果进行回顾。回顾内容包括质量风险管理的实施情况,实施效果,CAPA跟踪,变更情况等,以确认质量风险时是否会导致新的质量风险。如果某风险能够满足以下8个条件,则认为风险已被正确管理:正确的描述风险;识别根本原因;有具体的消减风险解决方案;已确定补救、纠正和预防行动计划;行动计划有效;行动有负责人和目标完成日期;按计划进行并完成预定的行动;风险的纠正预防措施适合,未出现新的风险。 四、风险沟通 药品研发中质量风险的管理过程中不能缺少风险沟通。 风险沟通,是指在决策者和其它人员之间就有关风险和风险管理的信息进行交流。沟通所包含的信息可能与质量风险的存在、性质、形式、可能性、严重性、可接受性、控制、处理、可检出性或其它方面相关。 通过风险沟通,使相关信息在公司内部各相关部门之间做到信息共享,引起企业员工对风险的重视、关注、献策、预防;通过风险沟通,促进风险管理的实施,使各方掌握更全面的信息从而调整或改进措施及其效果。 五、 质量风险管理在药品研发中的应用 1、文件系统:定期检查文件的政策法规符合性和技术符合性,规避公司产品的法规风险;评估起草的必要性和适用性以及明确质量风险控制需重点详细描述部分和复核部分。 2、培训:依据员工的学历、工作经验、工作习惯和职务说明等情况,并参照以往培训的定期评估结果,确定培训的方法、内容、频率和考核方式;使培训能有的放矢,尽可能减少人作为最大危害源带来的风险;确保员工的培训、经验、资质和健康等条件能达到岗位要求。 3、质量缺陷:对质量方面的可疑缺陷、投诉、趋势分析、偏差以及超标结果等导致的潜在质量影响进行鉴定、评估和交流,查找出引起缺陷的根本原因,确定合适的纠正预防措施。 4、实验室控制和稳定性研究:实验室从方法、试剂试液、仪器设备、量器、人员操作、取样、样品管理等方面控制质量风险,确保检验结果的准确可靠,降低实验结果的误差,减少因实验室差错造成的超标结果。通过稳定性研究,确认产品的复验期和有效期,保证产品生命周期的质量。 5、包装设计:内包装的选择设计应保证产品有良好的密闭状态,减少环境及外来物质对产品质量的影响。外包装的设计能充分地保护好内包装不受到运输、环境等影响。标签的控制应保证符合法规要求,不产生混淆,给用户提供正确的指导。 6、厂房设施、设备和公用系统须满足产品工艺的需求和产品质量风险的控制。如人流、物流、依工艺流程的平面布局、设施、设备、容器的材质、公用系统应对生产起到防止混淆,减少污染和交叉污染的功能。 7、物料管理:供应商选择、审计、评估以降低购进物料的不合格风险,确保能按计划采购合格的物料;存储条件的控制以降低物料在贮存期质量变化的风险。 8、验证:对临川试验药品生产中相关的设备设施、物料、生产环境、生产程序、关键工艺参数等可能对产品质量产生的影响的所有方面进行风险评估,找出产品风险最大的关键控制点,制定措施避免或降低该风险。确定关键工艺参数以及中间过程取样和监测的频率和内容。 来源:药事纵横 近期培训课程
地点 时间 (点击↓链接阅读全文) 线上 11月26-27日 【线上】2022基于化学创新药案例的药物分析人员关键岗位技能提升专题培训班 线上 11月26-27日 【线上】2022跨越基层-cGMP框架下制药企业储备生产负责人能力提升研修班 线上 11月26-27日 【线上】2022污染控制策略(CCS)与无菌药品微生物控制策略和无菌保障应用高级研修班 线上 12月17-18日 【线上】2022 MAH制度下CMO/CDMO企业如何做好药品研发生产的质量保障、安全及监管合规要求高级研修班 线上 12月17-18日 【线上】2022制药企业质量保证实施策略解析和案例分析-暨质量QA管理人员技能专项提升高级研修班 线上 12月17-18日 【线上】符合ICH指导原则的质量标准建立与分析方法策略实施高级研修班 线上 12月17-18日 【线上】制药实验室运营管理及实验室信息化建设高级研修班 线上 12月23-24日 【线上】2022新药临床前安全性评价实操专题培训班 线上 12月24-25日 【线上】2022符合FDA和欧盟法规要求的cGMP文件和记录系统要求及检查实践专题研修班 线上 12月24-25日 【线上】2022最新细胞治疗产品GMP指南落地实施专题培训班 线上 12月24-25日 【线上】药品研发质量管理体系构建与执行及项目管理实例分享交流会 线上 12月29-30日 【线上】生物新药研发与注册项目管理的合规体系建立、执行关键点解析高级研修班 线上 12月29-30日 【线上】基于药品生命周期管理的全员确认与验证实施策略解析专题研修班 线上 1月07-08日 【线上】GMP管理体系的搭建改善及变更、偏差实施策略解析高级研修班

长按二维码关注我们

个人中心
我是园区

