您还不是认证园区!
赶快前去认证园区吧!
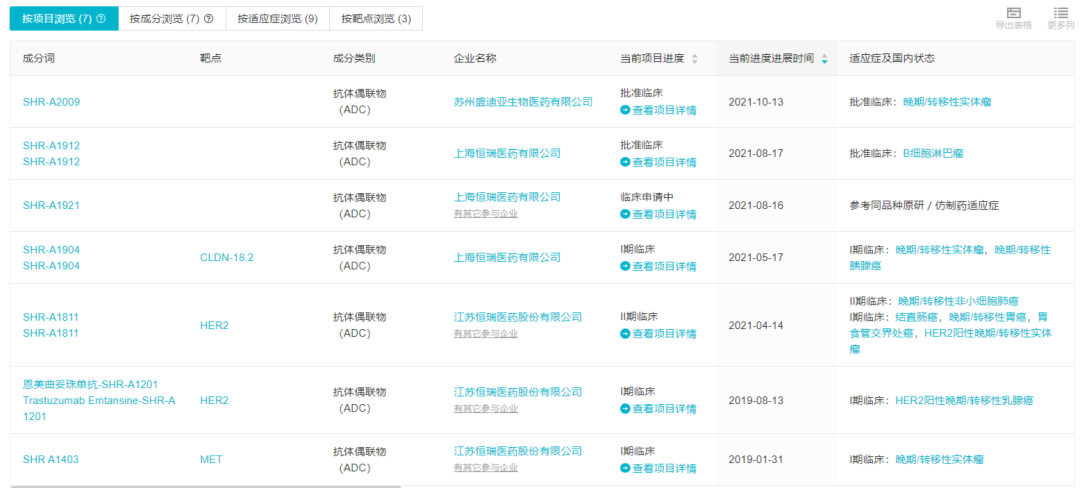
10 月 13 日,恒瑞医药的 ADC 新药 SHR-A2009 获批临床。迄今,恒瑞已经有 7 款 ADC 项目进入临床阶段(包括一款 T-DM1 类似药),为国内 ADC 项目最多的企业。

根据 Insight 数据库,仅今年,恒瑞已经新申报 4 款 ADC 产品,并将其中 CLDN-18.2 ADC 药物 SHR-A1904 率先推入临床,HER2 ADC 药物 SHR-A1811 启动了 I/II 期临床。
恒瑞医药 ADC 项目

来自:Insight 数据库(http://db.dxy.cn/v5/)
从申报临床的角度来看,当前国内的 ADC 项目以恒瑞为最多,其次是荣昌生物和美雅珂。荣昌生物除了已上市的维迪西妥单抗之外,另外3 款 ADC 尚处于早期研发,分别靶向 MET、MSLN、CLDN-18.2;美雅珂的 4 款 ADC 则分别针对 HER2、CD20、EGFR 和 FIII。多禧生物也是 ADC 领域新星,已有 3 款推进到临床,其中 TROP-2 ADC 合作君实生物。

编辑:加一
PR 稿对接:微信 insightxb
投稿:微信 insightxb;邮箱 insight@dxy.cn
点击卡片进入 Insight 小程序
药品申报、临床、上市、一致性评价…
随时随地查!
↓↓ 点击解锁更多新功能

个人中心
我是园区