作者:饮乐多
氘代丁苯那嗪片(Deutetrabenazine)是以色列梯瓦(TEVA)工业制药有限公司研制,最早于2017年4月3日,被FDA批准上市,用以治疗亨廷顿症有关的舞蹈病和成人迟发性运动障碍的一种药物。AustedoTM是一种靶向囊泡单胺转运体2(VMAT2)的小分子口服抑制剂,VMAT2在人体中主要负责调节多巴胺、肾上腺素、去甲肾上腺素的水平。氘代丁苯那嗪是丁苯那嗪(tetrabenazine)氘代后的产物,其半衰期明显延长,药物代谢动力学特征得到了明显改善,只需更少的剂量就以达到预期治疗效果。
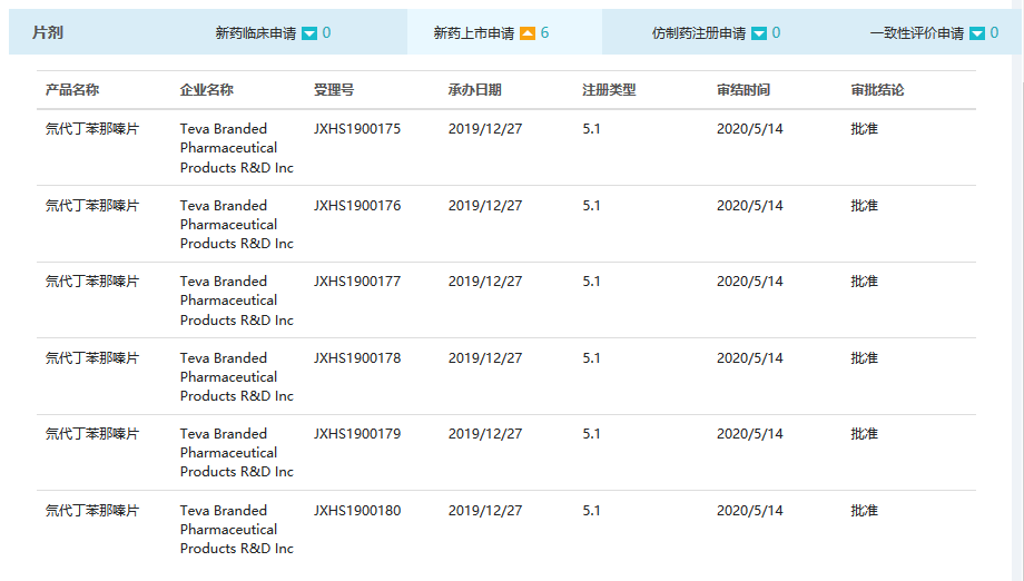
根据CPM新药研发监测数据库(http://cpm.pharmadl.com)数据显示,2019年12月27日,氘代丁苯那嗪片在我国递交新药上市申请(NDA),并于2020年5月14日正式获批,商品名为安泰坦®。

氘代丁苯那嗪在我国获批上市
氘代丁苯那嗪片最早是由AuspexPharmaceuticals公司研发,项目原名SD-809,2015年3月,TEVA耗资32亿美元收购了AuspexPharmaceuticals,并接手了SD-809项目。
TEVA是一家全球性的医药公司,致力于开发、生产非专利药物,是目前全球最大的非专利药物生产商之一。目前,梯瓦在全球拥有45,000名员工和74个生产基地,业务遍布全球60多个国家和地区。
尽管新东家的背景雄厚,SD-809的命运仍然一波三折,曾因血液中某些代谢物浓度水平问题而被FDA退回,直到TEVA重新完成血液样品分析后,才得以成功获批。
我国自接到上市申请到完成审批只用了5个月的时间,根据CPM新药研发监测数据库数据显示,氘代丁苯那嗪片的主要适应症为治疗亨廷顿症有关的舞蹈病和成人迟发性运动障碍。

氘代丁苯那嗪适应症
亨廷顿症(HD)是一种罕见的严重神经退行性疾病,在亚洲的每100万人中约有4人患上此种疾病,平均的发病年龄为40岁,而90%的患者会出现身体表现,舞蹈症就是其中之一。
迟发性运动障碍(TD)是一种运动障碍,特征是面部、四肢、躯干不可控的重复性运动,目前在美国约有50万人罹患此病,致病原因可能是治疗精神分裂症和双相情感障碍等精神疾病的药物和胃肠药甲氧氯普胺所引起的。
在中国,所有精神分裂症患者中,TD的患病率为33.7%。这可能与某些治疗药物有关,TD会严重影响患者的生活质量和社会功能。目前安泰坦是首个在中国获批的用以治疗TD的药品。

此外,CPM新药研发监测数据库显示我国有多家企业参与到丁苯那嗪片的仿制药研发中,并提交了仿制药上市申请,未来的市场仍存在很大变数。

CPM数据库显示我国众多企业已经完成仿制药申请

氘代技术示意图
氘代技术较为先进,由于氘(D)元素在自然界中的含量丰富,可以与其他元素形成稳定的分子键。虽然氘(D)和氢(H)在原子大小上基本一致,仅仅相差一个中子,但却可以让D与C形成的化学键更加稳定,通常情况下,D-C形成的化学键比H-C的高6-9倍,这会对药物开发产生重大影响,H-C键断裂的难易程度会影响药物体内代谢水平。
目前氘化技术主要针对已经上市的药物,相对更高效,药物经过改造后稳定性增强、有利于活性代谢物的形成并减弱了毒副作用。其半衰期大大延长,与未经氘代的药物相比,具有更高的安全性、有效性。氘代化合物通常可以保留其氢类化合物的理化特性,但即使具有相似的化学结构,研发者仍然很难预测氘取代后的代谢作用,这是氘代技术广泛应用的障碍。
我国企业也在积极参与氘代药物的研发,比如泽璟制药重点开发氘代抗肿瘤药物,种类涉及索拉菲尼、色瑞替尼、艾拉利司、奥贝胆酸等,其中索拉菲尼的氘代药物多纳非尼进展最快,在完成肝细胞癌的I期临床后,跳过了II期临床进入了III期,大大缩短了研发周期。此外,像正大天晴、东阳光和海创药业等企业,也在积极摸索,推进各自的研发项目紧张,相信不久的将来,我们能见证“中国智造”的氘代药物问世,造福全球的患者。

-
中国好BD|天境生物(I-Mab Biopharma)
-
中国好BD|基石药业(CSTONE PHARMACEUTICALS) -
中国好投资人 | 倚锋资本投资的优秀企业(上篇) -
启明系 | 启明创投投资的优秀企业(中)
-
启明系 | 启明创投投资的优秀企业(上)
-
歌曲 | PD-1之歌(附:100篇PD-1/PD-L1相关好文章)
-
LAV系|礼来亚洲基金投资的优秀企业(上) -
LAV系|礼来亚洲基金投资的优秀企业(中) -
中国好VC!LAV系|礼来亚洲基金投资的优秀企业(下) -
中国好BD | 百济神州(BeiGene) -
中国好BD|再鼎医药(Zai Lab) -
mRNA药物专利分析报告--全球篇 -
和黄医药自主研发肿瘤药苏泰达®正式上市,中国创新药惠及非胰腺神经内分泌瘤患者! -
默沙东停止开发两款在研新冠疫苗,将继续全力开发两款新冠新药 PD-1携手CAR-T疗法!强强联合能否打破实体瘤治疗困局?
-
新元医疗一期基金被投公司Kymab以11亿美金首付款被赛诺菲收购 -
新冠病人的嗅觉与味觉失灵,是短暂还是持久的? -
请查收!以创新促进健康,2020年FDA新药审批报告 -
TRK成新药研发热门靶标 -
送你一朵小红花!2020年中国乘风破浪的改良型新药创新型企业 -
中国新药研发,我要“送你一朵小红花”! -
Keytruda的故事 -
请查收!以创新促进健康,2020年FDA新药审批报告 -
送您Keytruda最新说明书(97页)!送白衣天使一朵小红花! -
2025年全球畅销药TOP10预测:Keytruda位居榜首,225亿美元 -
纪念斯隆-凯特琳癌症中心研究:通过恢复“预警系统”提高肿瘤免疫疗法疗效
-
EGFR三代靶向药物有哪些?未来靶向治疗思路是什么?
-
谢雨礼博士 | 生物医药2021:把握创新转型的大势
点击阅读原文,送我一朵小红花!

个人中心
我是园区