四环医药递交首个 1 类新药上市申请,创新药即将进入收获期

收藏
关键词: 医药上市新药创新药上市申请
资讯来源:Insight数据库
发布时间: 2021-10-22
10 月 22 日,四环医药宣布,子公司轩竹生物的 1 类新药安纳拉唑钠肠溶片」已经向 NMPA 递交新药上市申请并获受理。这是轩主生物递交的首个新药上市申请标志着轩竹生物踏入商业化发展的新里程。


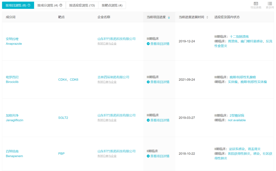
据四环医药公开资料,安纳拉唑钠是新一代中国国内唯一一个自主研发的质子泵抑制剂(PPI),用于治疗十二指肠溃疡。 经多酶和非酶代谢,药物间相互作用的风险低。 临床数据显示,安纳拉唑钠的安全性及症状缓解均为同类产品最佳( Best-in- class 2020 年抗消化性溃疡药销量 TOP5 中均为 PPI 药物,市场规模超过人民币 20 0 亿元。

Insight 数据库显示,四环医药目前有 4 款创新化药正处于临床开发中。除今日新报上市的安纳拉唑钠外,进展最快的为 CDK4/6 抑制剂吡罗西尼,已经进入 III 期临床。

四环医药临床阶段创新药
来自: Insight 数据库(http://db.dxy.cn/v5/home/)

免责声明:本文仅作消息分享,不代表 Insight 立场和观点,也不作治疗方案推荐和介绍。如有需求,请咨询和联系正规医疗机构。

编辑:加一
PR 稿对接:微信 insightxb
投稿:微信 insightxb;邮箱 insight@dxy.cn



点击卡片进入  Insight 小程序
药品申报、临床、上市、一致性评价…
随时随地查
↓↓ 点击解锁更多新功能