2020年03月17日国家药品监督管理局(NMPA)连续发布了6个关于安乃近注射液、含磺胺二甲嘧啶制剂、羟布宗片等品种注销公告。


本次公告品种涉及11个品种289个批准文号,属于经国家药品监督管理局组织进行了上市后评价,认为风险大于获益,要求自即日起停止生产销售使用,已上市销售的应召回。
涉及的主要品种:
安乃近注射液、安乃近氯丙嗪注射液、小儿安乃近灌肠液、安乃近滴剂、安乃近滴鼻液、滴鼻用安乃近溶液片、小儿解热栓、磺胺二甲嘧啶片、磺胺二甲嘧啶混悬液、小儿复方磺胺二甲嘧啶散、羟布宗片。
安乃近相关的制剂
安乃近是吡唑酮类解热镇痛药,在我国上市时间较早,制剂种类包括口服制剂、注射剂、滴鼻液等。随着医药技术发展以及不良反应监测工作的深入,药品安全风险认知将更加全面,风险获益比可能发生变化。国家药品监督管理部门高度关注该类品种安全性问题,开展了相关评估和风险警示工作。
经国家药品监督管理部门组织评价,认为安乃近注射液、安乃近氯丙嗪注射液、小儿安乃近灌肠液、安乃近滴剂、安乃近滴鼻液、滴鼻用安乃近溶液片、小儿解热栓存在严重过敏反应、粒细胞缺乏症等严重不良反应,风险大于获益,且临床均有替代药品,根据《中华人民共和国药品管理法》第八十三条,予以注销药品注册证书。
安乃近片等口服制剂保留
安乃近片等口服制剂尚有一定临床价值,对安乃近片、重感灵片、重感灵胶囊、复方青蒿安乃近片采取修订说明书的风险控制措施,增加安全警示信息,限制适用人群和适应症范围。
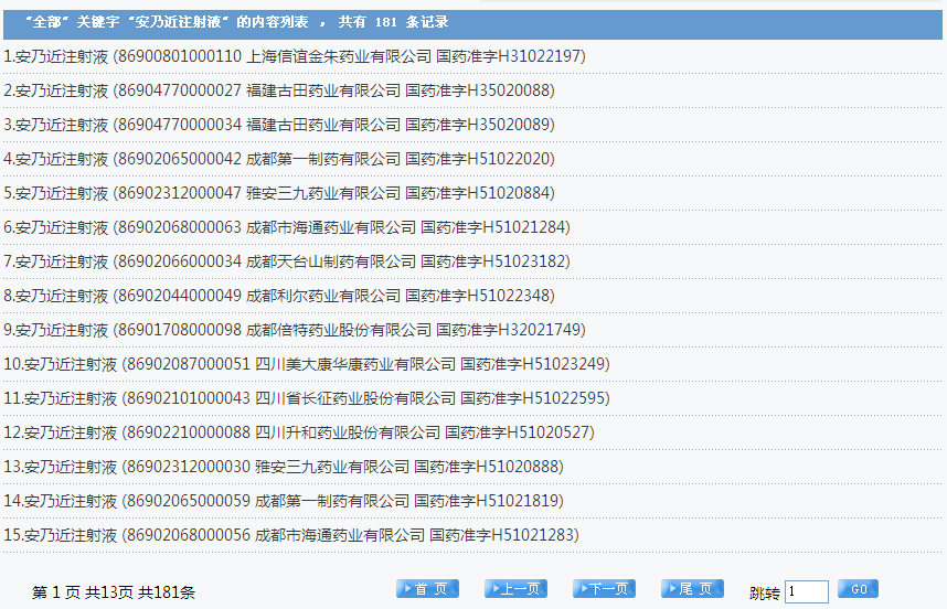
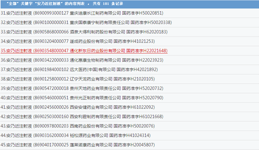
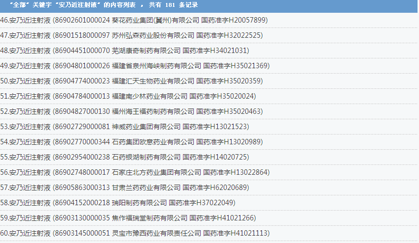
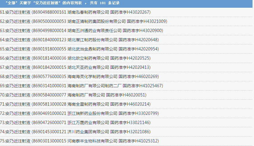
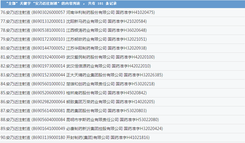
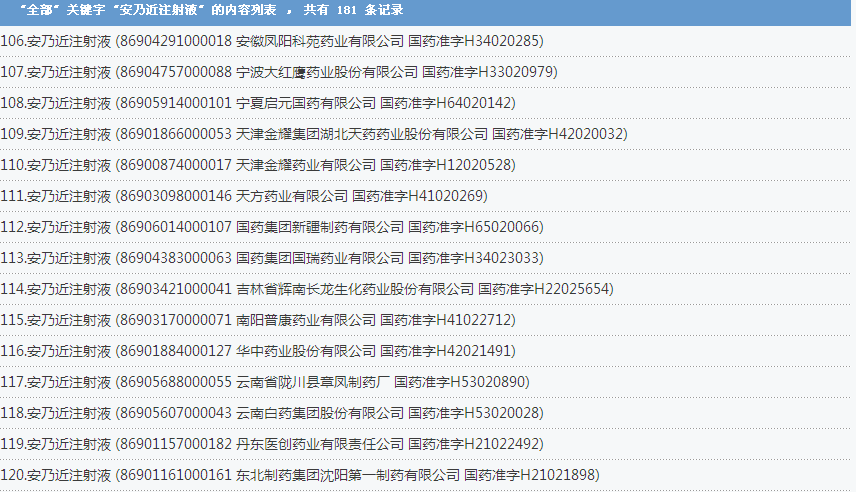
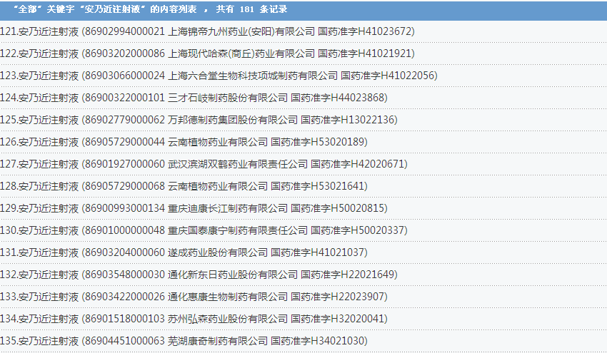
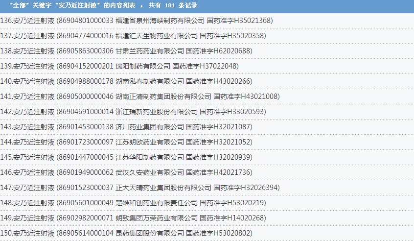
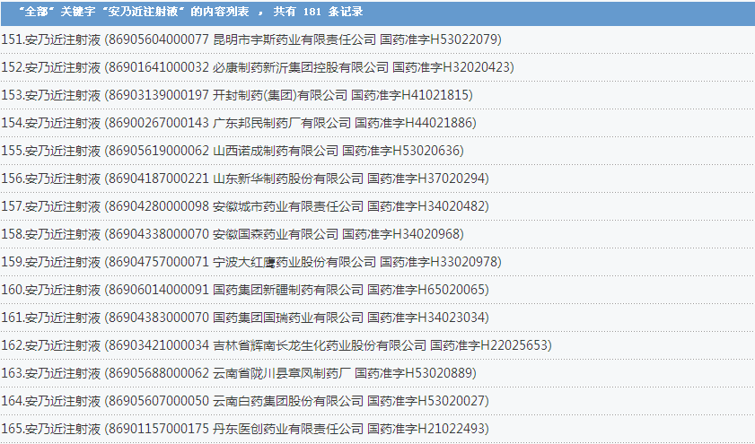
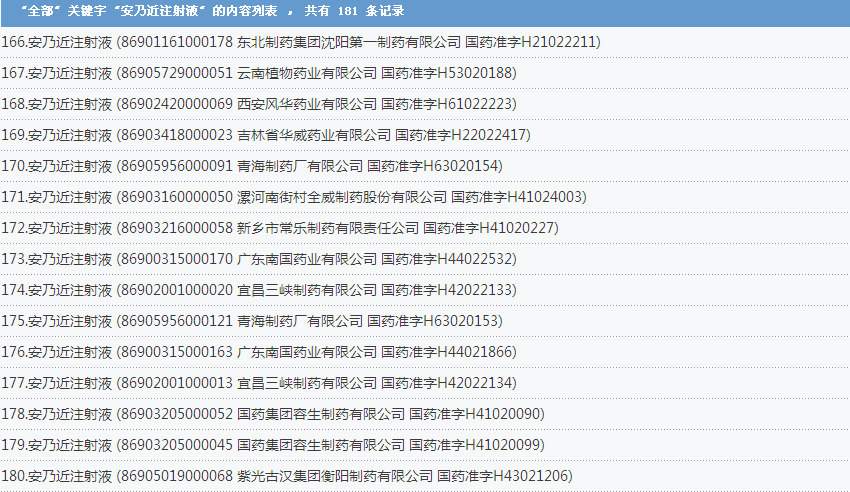
安乃近注射液:国内共有181个批准文号,涉及了上海信谊金朱药业有限公司、福建古田药业有限公司、成都第一制药有限公司等企业:













安乃近氯丙嗪注射液:6个批准文号

小儿安乃近灌肠液:2个批准文号

安乃近滴剂:1个批准文号

安乃近滴鼻液:1个批准文号

滴鼻用安乃近溶液片:1个批准文号

小儿解热栓:3个批准文号

含磺胺二甲嘧啶等制剂
国家药品监督管理局组织对含磺胺二甲嘧啶制剂进行了上市后评价,评价认为含磺胺二甲嘧啶制剂存在严重不良反应,在我国使用风险大于获益,决定自即日起停止含磺胺二甲嘧啶制剂在我国的生产、销售和使用,注销药品注册证书(药品批准文号)。已上市销售的含磺胺二甲嘧啶制剂由生产企业负责召回,召回产品由企业所在地药品监督管理部门监督销毁。
含磺胺二甲嘧啶制剂是磺胺类抗感染药,在我国上市的品种有磺胺二甲嘧啶片、磺胺二甲嘧啶混悬液、小儿复方磺胺二甲嘧啶散,适应症为脑膜炎球菌、肺炎球菌以及某些革兰氏阴性杆菌引起的感染,严重不良反应主要涉及皮肤及血液系统。
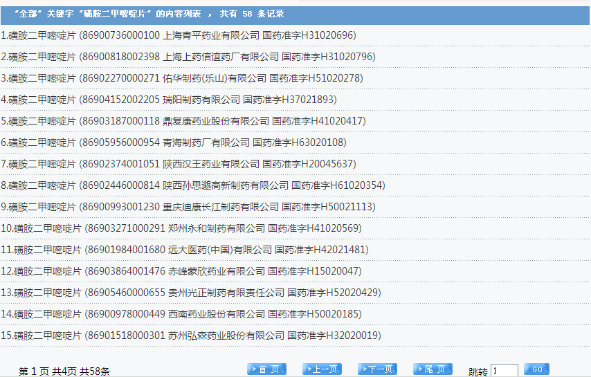
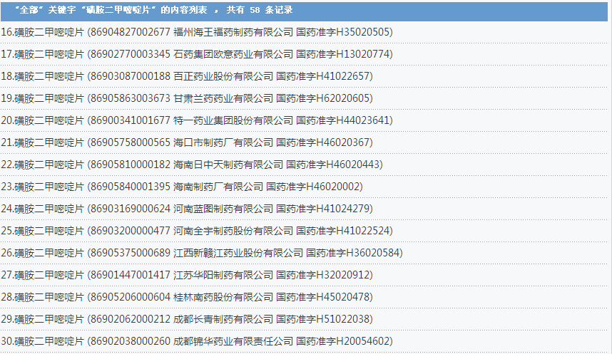
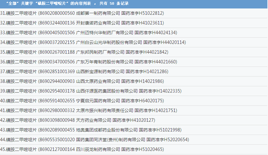
磺胺二甲嘧啶片:58个批准文号




磺胺二甲嘧啶混悬液:4个批准文号

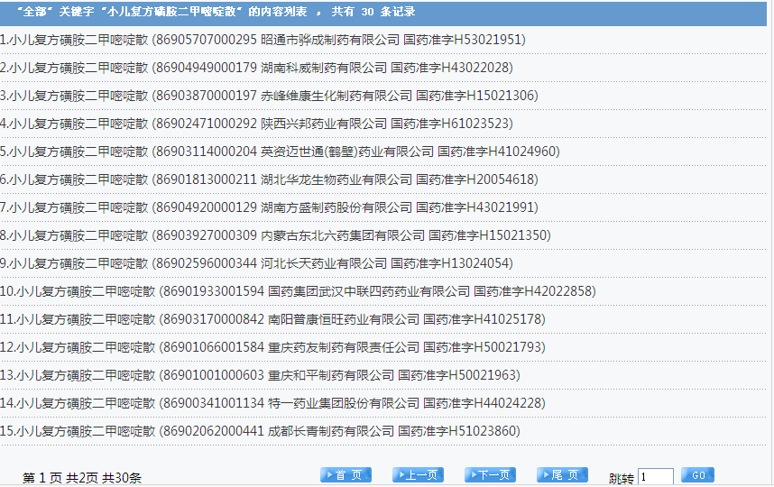
小儿复方磺胺二甲嘧啶散:30个批准文号:


羟布宗片
国家药品监督管理局组织对羟布宗片进行了上市后评价,评价认为羟布宗片存在严重不良反应,在我国使用风险大于获益,决定自即日起停止羟布宗片在我国的生产、销售和使用,注销药品注册证书(药品批准文号)。已上市销售的羟布宗片由生产企业负责召回,召回产品由企业所在地药品监督管理部门监督销毁。
羟布宗片为解热镇痛抗炎药,适应症为风湿性、类风湿性关节炎及痛风,严重不良反应主要涉及血液系统。
羟布宗片:

《中国食品药品监管》杂志
国际标准连续出版物号:
ISSN 1673-5390
国内统一连续出版物号:
CN 11-5362/D
期刊级别: 国家级
刊期:月刊
《中国食品药品监管》作为国家药品监督管理局机关刊,创刊于1998年,目前是国家药品监督管理局主管的隶属于中国健康传媒集团的科学性、专业性核心期刊;更是研究和宣传中国食品药品监管政策、建立科学监管理念、提高监管水平、服务我国食药产业健康发展的重要平台。
来源:GMP办公室
订阅杂志,请点击“阅读原文”~

个人中心
我是园区