
盛诺基中药1类新药「阿可拉定」申报上市!
辉瑞第三代ALK抑制剂上市申请获受理
渤健多发性硬化新药「富马酸二甲酯」在中国正式获批
齐鲁制药又两款重磅品种过评
本期(4月9日至4月16日),第五批集采品种报量目录流出,涉及60个品种207个品规,齐鲁制药又有两款重磅产品获批,盛诺基中药1类新药「阿可拉定」申报上市。更多动态如下:
国内审评审批·新动态
本周CDE有64个受理号(46个品种)报生产办理状态更新,其中渤健多发性硬化新药「富马酸二甲酯肠溶胶囊」在中国正式获批,齐鲁制药4类仿制药酒石酸溴莫尼定滴眼液、恩曲他滨替诺福韦片获批上市,更多动态如下:

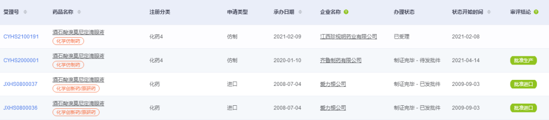
数据来源:药智数据
药智数据显示,渤健公司富马酸二甲酯肠溶胶囊已获批上市。富马酸二甲酯最早于2013年获美国FDA批准上市,用于治疗多发性硬化(MS)。自获批至今,它已成为渤健公司的当家产品之一,同时也已成为全球MS治疗领域使用最为广泛的口服药物之一。
在中国,渤健和杨森等公司于2020年初递交了富马酸二甲酯肠溶胶囊的新药上市申请,并于同年4月被正式纳入优先审评程序,适应症为用于复发型多发性硬化成年患者的治疗:包括临床孤立综合征、复发缓解型、活动性继发进展型。
2020年11月,「富马酸二甲酯」被纳入第三批临床急需境外新药名单,几个月后快速获得获批,为众多MS患者带来新的治疗选择。
近日,第五批集采品种报量目录流出,涉及60个品种207个品规,齐鲁制药有10个过评品种在列。本周齐鲁制药又有两款重磅产品获批,并视同通过一致性评价,包括酒石酸溴莫尼定滴眼液和恩曲他滨替诺福韦片。
酒石酸溴莫尼定滴眼液适用于降低开角型青光眼及高眼压症患者的眼内压,目前国内市场仅有爱力根公司获批进口,本次获批生产后,齐鲁制药成为该品种首家过评企业。此外,江西珍视明药业的酒石酸溴莫尼定滴眼液已获受理。

数据来源:药智数据
恩曲他滨替诺福韦片是吉利德开发的重磅抗艾滋病药,为恩曲他滨与富马酸替诺福韦二吡呋酯的复方制剂。2004年在美国上市,国内市场已有吉利德、正大天晴、安徽贝克及海思科等4家企业获批,齐鲁制药为该品种国产第4家。此外,上海迪赛诺的恩曲他滨替诺福韦片上市申请在审评审批中。

数据来源:药智数据
国内审评审批·新受理
本周CDE新增报生产受理号35个,共26个品种,其中盛诺基中药1类新药「阿可拉定」和辉瑞第三代ALK抑制剂「Lorlatinib片」备受关注,更多动态见下表:

数据来源:药智数据
Lorlatinib是一种酪氨酸激酶抑制剂,它在携带ALK重排的临床前肺癌模型中显示出高度活性。2018年11月,美国FDA加速批准该药用于治疗ALK阳性转移性NSCLC患者,这些患者在接受克唑替尼(crizotinib)或者至少一种其它ALK抑制剂治疗后疾病继续恶化,或者接受阿来替尼(alectinib)或塞瑞替尼(ceritinib)作为第一种ALK抑制剂疗法后疾病继续恶化;上月5日,美国FDA批准lorlatinib扩展适应症,用于一线治疗ALK阳性NSCLC患者。
阿可拉定(Icaritin)是北京盛诺基医药公司从传统中药(天然药用植物)淫羊藿中提取、分离和纯化获得的小分子免疫调节创新药(First-in-class),适应症为晚期肝细胞癌。阿可拉定新药基础和临床开发相关课题先后获得国家“十一五”、“十二五”、“十三五”等5项“重大新药创制”科技重大专项的支持。
据悉,阿可拉定可以直接作用于NF-KB信号通路中的IKKα、IKKβ, 干预IKK激酶复合物的生成,抑制NF-KB从细胞质向细胞核迁移,从而下调免疫检查点配体分子PD-L1的表达。
阿可拉定临床I至III研究结果均显示良好的临床用药安全性,III期对比治疗晚期肝癌的标杆药物索拉非尼,阿可拉定中位总生存期显著优于索拉菲尼。
此外,盛诺基还在开展阿可拉定与溶瘤病毒、抗PD-1/PD-L1抗体、抗体CD137抗体等的联合用药治疗肿瘤的多项临床试验。
、企业公告等网络公开数据
、企业公告等网络公开信息
责任编辑 | 琉 璃
排版设计 | 惜 姌
投稿爆料 | 18523380183(同微信)
转载授权 | 18523380183(同微信)
媒体合作 | 18323856316(同微信)
期待你的
分享
点赞
在看

个人中心
我是园区