
据 Insight 数据库统计,本周(6 月 4 日—6 月 10 日)全球共有 45 款创新药(含改良新)研发进度推进到了新阶段,其中 2 款获批上市,2 款申报上市,14 款获批临床,8 款申报临床。
下文中,Insight 将分别摘取国内外部分重点项目做介绍。

国内创新药进展
国内部分,本周共有 43 款创新药(含改良新)研发进度推进到了新阶段,其中 2 款获批上市,2 款申报上市,14 款获批临床,11 款申报临床。
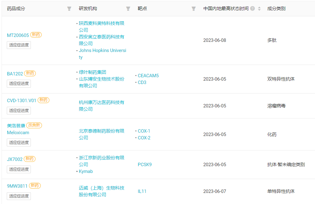
本周国内首次启动临床的 6 款创新药(含改良新)

来自:Insight 数据库网页版(下文如无特殊说明,均为同一来源)
获批上市
1、贝达药业:「伏罗尼布」获批上市
6 月 8 日,NMPA 发布公告,贝达药业的 1 类新药「伏罗尼布」获批上市。这是贝达药业获批上市的第 4 款 1 类新药,继 5 月 31 日贝福替尼获批上市之后,仅一星期之后又一款新药获批,可谓是双喜临门了,也为未来业绩提供了更多支撑点。
伏罗尼布为多靶点受体酪氨酸激酶抑制剂,对 VEGFR2、KIT、PDGFR、FLT3 和 RET 均有较强的抑制作用,主要通过抑制新生血管形成发挥抗肿瘤作用。该药品的上市为晚期肾细胞癌患者提供了新的治疗选择。
在 2021 ASCO 大会上,贝达报道了伏罗尼布联合依维莫司治疗肾癌的随机、双盲双模拟、平行对照、多中心 II/III 期临床试验 CONCEPT 研究数据。结果显示,与依维莫司单药相比,伏罗尼布联合依维莫司对转移性 RCC 患者有 PFS 获益,且具有安全耐受性。
据 Insight 数据库,伏罗尼布(代号:CM082/X82)最早在 2011 年 2 月由 Tyrogenex 公司在海外启动首项临床,同年 5 月卡南吉医药在中国首次申请临床,中国地区的临床试验在 2012 年首次启动。
「伏罗尼布」全球新药项目时光轴

目前,伏罗尼布在国内登记启动了 15 项临床试验。肿瘤适应症的布局上,除肾癌外还包括还包括胃癌、急性髓系白血病、小细胞肺癌、非小细胞肺癌、黏膜黑色素瘤,后 3 者联用 PD-1 特瑞普利单抗。此外,还开发了眼科适应症如湿性年龄相关性黄斑变性(w-AMD)、脉络膜新生血管(mCNV)。
申报上市
1、绿叶制药:「芦比替定」国内报上市,针对复发性小细胞肺癌
6 月 7 日,据 CDE 官网显示,绿叶制药的注射用芦比替定在国内申报上市(受理号:JXHS2300049)。
据新闻稿,适应症为用于治疗含铂化疗中或化疗后疾病进展的转移性小细胞肺癌(SCLC)成人患者。此前,该产品已被纳入优先审评品种名单。
芦比替定为一种选择性的致癌基因转录抑制剂,独特的双重作用机制使其在抑制肿瘤基因转录、导致肿瘤细胞凋亡的同时,还可调节肿瘤微环境,从而进一步发挥抗肿瘤作用。该药物于 2020 年获得美国 FDA 的附条件批准,用于治疗上述适应症。
此次上市申请基于芦比替定在中国开展的单臂、包含剂量递增及扩展的临床研究,旨在评估该药物在包括复发性 SCLC 在内的晚期实体瘤中国患者中的安全性、耐受性、PK 特征和初步疗效。
临床结果显示:芦比替定(3.2 mg/m2)二线治疗中国 SCLC 患者具有显著的抗肿瘤疗效及可控的安全性。其在复发性 SCLC 受试者中,由独立评估委员会评估的总有效率(ORR)达到 45.5%。
NCT04638491 试验结果

2、恒瑞:JAK1 抑制剂「艾玛昔替尼」报上市
6 月 9 日,据 CDE 官网显示,恒瑞 1 类新药、新一代高选择性 JAK1 抑制剂艾玛昔替尼片申报上市(受理号:CXHS2300052)。
去年 11 月,恒瑞宣布艾玛昔替尼片用于治疗成人和 12 岁及以上青少年特应性皮炎的 III 期国际多中心临床研究 QUARTZ3(登记号:NCT04875169),经评估达到研究预设的共同主要终点及所有关键次要终点。
今年 3 月 19 日,北京大学人民医院皮肤科赵琰副教授在 2023 年美国皮肤病学会年会(AAD)的 Late-Breaking 环节汇报了 QUARTZ3 试验 16 周首要分析结果。
国内,目前已经获批上市的 JAK 抑制剂们均为进口药。同属于 JAK1 高选择性抑制剂,艾伯维的乌帕替尼和辉瑞的阿布昔替尼同样已经在国内获批了特应性皮炎适应症。
据 Insight 数据库显示,艾伯维的乌帕替尼自 2019 年获批上市之后,2022 年度全球销售额已经迅速增长至 25.22 亿美元。
乌帕替尼全球销售额趋势

针对国产药,除恒瑞艾玛西替尼外,国产 1 类新药杰克替尼(泽璟生物)于去年 10 月申报上市,不过首发适应症并非针对特应性皮炎,而是骨髓纤维化,前者当前处于 III 期临床阶段。此外,针对斑秃以及强直性脊柱炎也启动了相应 III 期临床。
国内启动特应性皮炎临床试验的 JAK 抑制剂
及其适应症在研阶段

获批临床
1、翰森制药:EGFR/cMet 双抗获批临床
6 月 5 日,翰森制药发布公告,称其在研 PM1080 项目已获得 NMPA 核准签发的临床试验通知书,拟用于治疗晚期实体瘤。
PM1080(HS-20117)是翰森制药从普米斯生物普米斯生物技术(珠海)有限公司的 1 类新药。该药是一种 EGFR/cMet 双特异性抗体药物,具有能够同时阻断 EGFR 和 c-Met 的信号传导,抑制肿瘤生长和存活等作用的治疗潜力。
根据协议条款,翰森制药将获得 PM1080 在大中华区的开发和商业化独家权利,并向普米斯支付 5,000 万元人民币的首付款及高达 14.18 亿元人民币的开发、注册及基于销售的商业化里程碑潜在付款,以及基于净销售额的分级特许权使用费。
PM1080 医药交易

2、安进/百济:CD3/STEAP1 双抗国内获批临床
6 月 6 日,据 CDE 官网显示,安进/百济 AMG 509 的临床试验申请获默示许可,拟用于治疗转移性去势抵抗性前列腺癌(受理号:JXSL2300063)。
AMG 509 是安进与百济共同研发的一款新型人源化双特异性 T 细胞募集抗体,可与人、灵长类动物的 STEAP1 抗原和 T 细胞表面的 CD3 受体结合。
前列腺跨膜上皮抗原 1(STEAP1)是一种由雄激素诱导并在前列腺癌中高表达的细胞表面抗原。STEAP1 在尤因肉瘤(EWS)中也高度表达,且会形成 EWS / FLI1 的融合。EWS / FLI1 融合是该恶性肿瘤的主要致癌驱动因素。
在结构设计上,安进利用了 Xencor 公司的 Xmab 2+1 非对称技术,且延长了这一蛋白的半衰期。

据 Insight 数据库显示,安进当前正在境外开展一项 AMG 509 治疗去势抵抗性前列腺癌的 I 期临床试验(登记号:NCT04221542)。该试验于 2020 年 3 月启动,预计于 2026 年 6 月完成试验的主要指标。
NCT04221542 试验历史时光轴

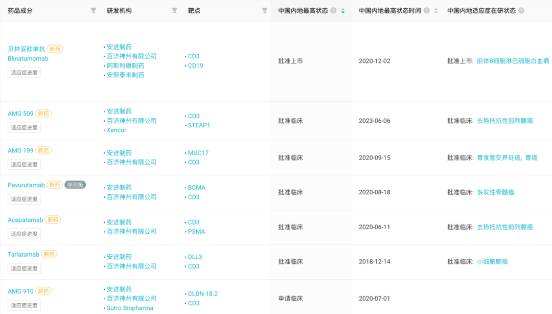
在百济与安进合作的双抗项目中,百济已将 7 款双抗在国内推进至临床开发阶段。
百济/安进共同研发 7 款双抗国内进入临床

申报临床
武田:新型合成 STING 激动剂国内报临床
6 月 7 日,据 CDE 官网显示,武田 TAK-676 注射液国内报临床(受理号:JXHL2300137)。
武田 TAK-676 是一种新型合成 STING 激动剂。与瘤内注射 STING 激动剂相比,TAK-676 可降低血清降解并增强渗透性,允许全身性静脉给药。此外,在放疗后使用 TAK-676 可通过增加 STING 介导的 IFN 抑制剂释放来增强免疫应答,并进一步刺激 T 细胞介导的抗肿瘤免疫反应。
据 Insight 数据库显示,当前武田正在美国开展 3 项 I 期临床研究,旨在探索放疗后 TAK-676 联合帕博利珠单抗在实体瘤患者中安全性和初步抗肿瘤活性。
TAK-676 临床试验

境外创新药进展
境外部分,本周共有 10 款创新药(含改良新)研发进度推进到了新阶段,其中 1 款申报上市,6 款获批临床。
申报上市
1、传奇生物:向美国 FDA 递交扩大 BCMA CAR-T 适应症的补充申请
6 月 6 日,传奇生物在美国新泽西州萨默塞特宣布,已向美国食品药品监督管理局(FDA)递交了一项补充生物制品许可申请(sBLA)。
该项申请旨在扩大 CARVYKTI®(ciltacabtagene autoleucel,cilta-cel,西达基奥仑赛)的适应症范围,以纳入既往至少接受过一种治疗(包括一种蛋白酶体抑制剂和一种免疫调节剂)的复发且来那度胺耐药的多发性骨髓瘤成人患者。
此次申请基于 CARTITUDE-4 研究(登记号:NCT04181827)数据,这是第一项国际、随机、开放标签的 3 期研究,用于评估西达基奥仑赛对比标准治疗方案(SOC)在既往接受过 1-3 线治疗的复发且来那度胺耐药的多发性骨髓瘤成人患者中的疗效和安全性。研究中的 SOC 包括泊马度胺、硼替佐米和地塞米松(PVd)或达雷妥尤单抗、泊马度胺和地塞米松(DPd)。
CARTITUDE-4 研究结果已在 2023 ASCO 年会上作口头报告(摘要 #LBA106),并同步发表在《新英格兰医学杂志》(The New England Journal of Medicine,简称 NEJM)上。
该项研究结果显示,在中位随访 16 个月时,与标准治疗方案(SOC)相比,西达基奥仑赛降低了既往接受过 1-3 线治疗且来那度胺耐药的多发性骨髓瘤成人患者 74% 的疾病进展或死亡风险(HR = 0.26,95%CI:0.18–0.38,P<0.0001)。详见下图:
CARTITUDE-4 研究结果

2、CLDN18.2 靶点首款产品报上市
6 月 9 日,安斯泰来宣布,已向日本厚生劳动省提交了 Zolbetuximab 的新药申请(NDA),拟用于一线治疗 CLDN18.2 阳性、HER2 阴性的局部晚期不可切除或转移性胃或胃食管交界处(G/GEJ)腺癌。如顺利获批,Zolbetuximab 将成为全球首个获批的 CLDN18.2 靶向疗法。
Zolbetuximab 是安斯泰来在研的一款 CLDN18.2 单抗。此次 NDA 是基于两项 III 期临床 SPOTLIGHT 和 GLOW 研究结果。
SPOTLIGHT 研究探索了 Zolbetuximab 联合 mFOLFOX6(奥沙利铂、亚叶酸 + 氟尿嘧啶联合方案)一线治疗 CLDN18.2 阳性、HER2 阴性局部晚期不可切除或转移性胃或胃食管交界处腺癌的疗效和安全性。
另一项 III 期临床 GLOW 研究则评估了 Zolbetuximab 联合 CAPOX(卡培他滨 + 奥沙利铂)一线治疗胃癌的疗效。
据 Insight 数据库显示,SPOTLIGHT 和 GLOW 这两项研究都同时在中国开展了研究,前者国内拟入组约 30 人,当前已入组 36 人;后者国内拟入组超 200 人,当前已入组 143 人。这两项临床试验,或许后续也将支持 Zolbetuximab 在中国的上市申请。
Zolbetuximab III 期临床试验登记

目前全球 CLDN18.2 靶点新药研发也异常火热,据 Insight 数据库显示,共 66 个临床阶段项目,其中 58 个有中国企业的身影。从成分类别来看,进入临床阶段的项目中,涉及单抗、CAR-T、ADC、双抗、抗体类融合蛋白等,其中单抗、CAR-T 并列 TOP1,均有 17 款,ADC、双抗则位居第 2、第 3。
临床阶段 CLDN18.2 靶向药物成分类别分布

从临床进展来看,CLDN18.2 靶点 2021 年、2022 年进临床项目急增,这两年共有 33 个项目新进 I 期临床,II 期临床阶段有 9 个。
靶向 CLDN18.2 产品申报临床趋势
6 月 6 日 2023 ASCO 年会闭幕,用户可通过 Insight 数据库「临床试验结果」快速定位到全部会议摘要。
2023 ASCO 数据如何获取?
点击数据库导航栏「全球新药情报」>>「临床试验结果」进入模块,在左侧侧边栏下滑至底部,「快速筛选」中点击「2023 ASCO」即可。


同时,本周 Insight 数据库聚焦 NSCLC,与大家共同探讨第一三共/阿斯利康、科伦药业释放了哪些 ADC 新结果?
TROP2 在 ADC 药物靶点热度中排行第 2,仅次于 HER2。在这一靶点上,3 个进度遥遥领先的新药项目最受关注:
-
吉利德斥资 210 亿美元收购 Immunomedics 拿下的戈沙妥珠单抗(Trodelvy),首个也是当前唯一一个上市的 TROP2 ADC; -
阿斯利康斥资 60 亿美元与第一三共合作的德达博妥单抗(Dato-DXd,DS-1062),当前 7 项 III 期临床试验进行中; -
默沙东斥资 14 亿美元从科伦药业引进的 SKB264(MK-2870),是双方一系列 ADC 合作的开端,也已进入 III 期临床。

个人中心
我是园区